
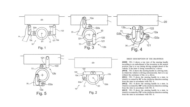
На відміну від Tesla, де вони просто прибрали верх і низ звичайного блоку, щоб створити своє нове кермо, назване Yoke, BMW використовує зовсім інший підхід. Креслення, які є частиною патентної заявки BMW у Відомство за патентами та товарними знаками США (USPTO), показують те, що описується як «рульова рукоятка з кутовими захватами».

Обидві рукоятки мають точку повороту, розташовану зовні маточини рульового управління, і завжди спрямовані вгору, навіть коли центр обертається. Якщо кермо не використовується або коли автомобіль рухається самостійно і без втручання водія, дві ручки складаються всередину, щоб займати якомога менше місця. У цьому випадку кермо також може бути прибрано, хоча в заявці на патент це не згадується.
Ще невідомо, чи запустить BMW цей пристрій у виробництво, чи воно залишиться просто концептом, але ідея дуже цікава, хоча, ймовірно, спочатку до неї потрібно буде звикнути.
Що може надати більше правдоподібності ідеї про те, що BMW дійсно планує виробляти цю систему, так це те, що компанія подала заявку на той самий патент у Німеччині та Китаї. Звичайно, це кермо не з’явиться в серійному виробництві, доки автомобілі не стануть повністю автономними.













